Sistema de Montaje Pressix CC 27
Soporte de Carril MOF 27




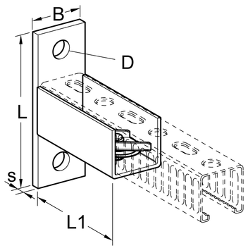
Aplicación
El Soporte de carril MOF 27 sirve para la construcción de travesaños entre dos carriles de montaje o como base para montajes en voladizo. Apropiado para carriles de montaje Sikla MS 27/15 y 27/25.
Nota: Para montajes en voladizo de la variante MH hay que asegurarse de que el carril está suficientemente reforzado. Para casos de carga de tracción Fz en la apertura del carril, el tornillo debe desplazarse.
Configuración
Se suministra completamente premontado.
Montaje
Colocar el carril de montaje en el perfil en U del soporte. Presionar la cabeza de los tornillos e insertar la tuerca rápida hasta hacer el click. Atornillar con un par de apriete de 10 Nm.
Datos técnicos
Se debe considerar las cargas admisibles de los anclajes. Carga máx. admisible para instalación en techos en dirección vertical: 0,8 kN | ![]() |
Material: | Acero, electro-galvanizado |