Cadenas de suspensión

Conjunto de conexión a Perfil LKA

Aplicación

Ensamblaje de conexión a perfiles de acero laminado existentes con anchos de ala de 100 mm hasta 310 mm. Este ensamblaje de conexión sirve como elemento base para otros enlaces de conexión de la cadena de carga Sikla mediante el Set de componentes de conexión LKV de tamaños M10 hasta M16 y la Abrazadera Stabil Tipo C LK.

Configuración

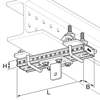
1 Perfil de montaje siFramo 80/30 (ver longitud para cada variante en la tabla correspondiente) con placa de suspensión premontada
2 Mordazas SB F 80/30-40

Montaje

Conectar el Perfil de montaje TP F 80/30 con la placa premontada al Perfil correspondiente mediante las Mordazas SB F 80/30-40.
Par de apriete de la conexión: 40 Nm
Tipo A: Conexión de la cadena transversalmente con respecto al perfil.
Tipo B: Conexión de la cadena longitudinalmente con respecto al perfil.

Datos técnicos

Carga adm. a tracción máxima según ancho de ala:

Tipo
100 - 199 mm
200 - 310 mm
M10 10,9 kN 10,8 kN
M12 11,5 kN 11,3 kN
M16 12,1 kN 11,9 kN

Los requisitos para la realización y construcción de los componentes y la correspondiente interpretación, así como los justificantes de los ensayos de carga se han llevado a cabo de acuerdo a las directrices VGB R 510 L Parte I, KTA 3205.3 y también según DIN EN 13480-3.

Ancho de ala
[mm]
L
[mm]
B
[mm]
H
[mm]
100 - 160 300 80 30
161 - 310 440 80 30

Material:
Acero, HCP
TipoPeso
[kg]
Embalaje
[pieza]
Código
artículo
LKA-A 100/160 M105,02 115833
LKA-A 100/160 M125,02 115834
LKA-A 100/160 M165,02 115835
LKA-A 161/300 M105,62 115836
LKA-A 161/300 M125,62 115837
LKA-A 161/300 M165,62 115838
     
LKA-B 100/160 M105,02 115826
LKA-B 100/160 M125,02 115827
LKA-B 100/160 M165,02 115828
LKA-B 161/300 M105,62 115829
LKA-B 161/300 M125,62 115831
LKA-B 161/300 M165,62 115832